собственного производства
собственным автотранспортом
продукцию до 3 лет
На сайте представлена розничная цена, скидка предоставляется в зависимости от объема.
Актуальность цен уточняйте у менеджеров.
Все цены указаны без учета НДС.
Счета выставляются с НДС.
Отправьте заявку и получите расчет стоимости со скидкой.
Счета выставляются с НДС.
собственного производства
собственным автотранспортом
продукцию до 3 лет
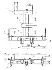
Траверса ТМ-110 предназначена для крепления провода при установке стоек воздушных ЛЭП напряжением 10 кВ.
Для заказа нашей продукции вы можете воспользоваться одним из удобных для Вас способов:
- Отправьте нам заявку на наши электронные адреса (info@kmp63.ru, zakaz16@kmp63.ru), и мы вышлем вам счет на оплату;
- Добавьте товар в корзину на сайте и вам придет счет на оплату на указанную вами электронную почту;
- Нажмите на кнопку «Прикрепить заявку» мы обработаем заказ и вышлем Вам предложение;
- Не нашли удобный для вас способ, закажите обратный звонок на сайте, и наши специалисты свяжутся с вами и помогут с выбором товара и оформлением заказа.
Возможные условия оплаты
Предварительная оплата
100% предоплата по выставленному счету на расчетный счет компании
Частичная оплата
30/50/70% от суммы выставленного счета, оставшаяся часть оплачивается по факту готовности товара к отгрузке
Отсрочка платежа
Пост. оплата через 30/60/90 дней с момента отгрузки товара
Варианты условий оплаты согласовываться в момент оформления заказа.
*Решение об отсрочке принимается после получения необходимого пакета документов (перечень документов уточняйте у менеджеров)
Доставка по Москве и Московской области
- Стоимость доставки по Москве от 2 900 руб.
- При заказе на сумму от 500 000 руб. – бесплатная доставка в пределах МКАД.
- Доставка по Московской области обсуждается индивидуально.
Доставка в регионы РФ
Организуем доставку по России отдельным собственным или наемным транспортом, а также с помощью выбранной Вами транспортной компании. Доставка груза до терминала ТК в городе Самара бесплатно.
Доставка осуществляется транспортными компаниями:
- ООО «ПЭК»
- ООО «Деловые линии»
- ООО «КИТ»
- ООО «Байкал Сервис»
- ООО «ЖелДорЭкспедиция»
- ООО «СДЭК»
Доставка по Самаре и Самарской области
- При заказе на сумму менее 5 000 руб. - стоимость доставки по Самаре и Новокуйбышевску от 500 руб.
- При заказе на сумму более 5 000 руб.– бесплатная доставка в пределах Самары и Новокуйбышевска.
- Доставка по Самарской области обсуждается индивидуально.
Самовывоз в Самаре
По предварительной договоренности вы можете самостоятельно забрать свой заказ со склада.
Адрес склада:
г. Самара, ул. Грозненская, дом 11. (отгрузка малогабаритных грузов)
г. Самара, Волжский район , с. Преображенка , ул. Индустриальная 1А/1 (отгрузка крупногабаритного груза)
Склад работает с 8.00 до 17.00, суббота/воскресенье выходной.
Отгрузка в выходные и праздничные дни возможна по предварительному согласованию.




